Application
Products
Home
Help center
About us
跟踪资讯   聚焦新闻
Tracking information focused news
最新动态
添添呼案例之医院随访系统
来源: | 作者:成都添闰 | 发布时间: 2020-12-10 | 4340 次浏览 | 🔊 点击朗读正文 ❚❚ | 分享到:

      添添呼为彭州某医院搭建的电话随访系统,充分利用现代计算机,通讯,互联网技术等技术,在医院与患者之间搭起了沟通的桥梁。同时系统也为辛勤服务的员工提供日常关怀服务。医院开展随访工作的意义在于:

      1. 是开展卫生部三好一满意”(服务好、质量好、医德好、群众满意)活动要求的有效补充手段。

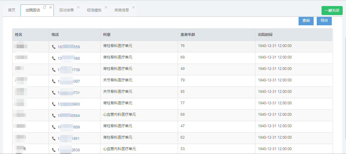
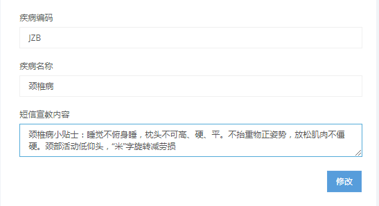
      2. 通过医院工作人员的随访,使医院的服务由院内延伸到院外,可以对患者进行康复指导,减轻患者负担,提高医院的形象和服务质量。我们系统与医院HIS系统进行对接,HIS将门诊,入院,出院患者信息推送到我们随访平台,平台根据患者的诊断信息,定期会给患者发送短信小贴士,对患者进行康复指导。

 

      3. 电话随访,搭建医患沟通的平台,让患者感受到了关怀,促进医务人员服务的提高,加强以患者为中心的服务理念,增强医院的竞争力。患者在医院出院后,工作人员会在出院7天之后,对患者进行回访,指导后期康复,以及对医院工作的整体服务进行评价回访。

 

 

      4. 通过电话随访,可以对医疗的质量进行跟踪,提高医生的服务技能,为科研以及员工考核晋升等提供数据支持。

      5. 建立和谐的医患关系,降低医疗风险。

      6. 改变以往人工回访的弊端,提升工作效率与质量。

      7. 对内部员工以及家属在节假日,生日等进行短信关怀。

      8. 强大的统计功能

 

 

 

 

更多强大的功能,欢迎咨询成都添闰通讯技术有限公司。地址:成都市武侯区科华北路世外桃源广场B617. 电话咨询:028-657 11111